水煤气制气工艺
在水煤气制气过程中,为了保证操作安全和充分回收排放气中的可燃成份,所以水煤气的制造过程不是简单的由鼓风和鼓蒸汽两个过程组成一个循环,一般是由5~6个过程组成一个循环。
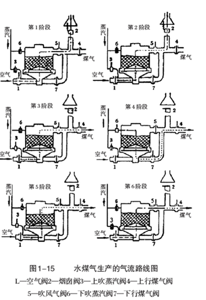
如以 6 个阶段的循环为例:
1. 吹风阶段:空气炉底鼓入,料层升温,废气炉顶排出。
2.蒸汽吹净阶段:蒸汽炉底吹入,将第一阶段的残余废气排出,以保证制气对产出煤气质量。
3.一次上吹制气阶段:从炉底鼓入水蒸汽,在料层内吸热气化产生煤气,从顶部逸出回收,此时料层下部的温度明显下降。
4.下吹制气阶段,水蒸汽由炉顶吹入,在炉内产生水蒸汽气化反应,此时将料层的热量进一步吸收,产出的水煤气由炉底逸出回收,而上部料层温度也明显下降。
5.二次上吹制气阶段:此为安全操作而设置的一个阶段,其目的是用水蒸汽将上阶段制气时在炉底积累的水煤气赶尽,以防止与鼓风空气相遇而产生事故,但此时从炉顶逸出的气体仍有较高的CO+H
2 ,所以逸出的煤气要回收。
6.空气吹净阶段段:由炉底鼓入空气,将炉内及剩余煤气从炉顶逸出,并加以回收。

这循环一个过程一般2.5~4.5分钟之间。

所以各阶段时间不是均配的,鼓风占 27%,而制气占 67%。
水煤气的成份(%)为:CO
2 =6.0,H
2S=0.4,O
2=0.2,CO=38.5,H
2=48.0,CH
4 =0.5,N
2=6.4,高热值:11304 千焦 / 米
3
排出的鼓风气中含有的CO+H
2约有11%左右,热值约为 1500 千焦 / 米
3,此部分热量是损失了,所以水煤气的气化效率约为 60%,热效率为 55%,是低于混合发生炉煤气。